














Зарегистрируйтесь, чтобы делать покупки, отслеживать заказы и пользоваться персональными скидками и баллами.















Зарегистрируйтесь, чтобы делать покупки, отслеживать заказы и пользоваться персональными скидками и баллами.
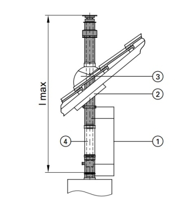
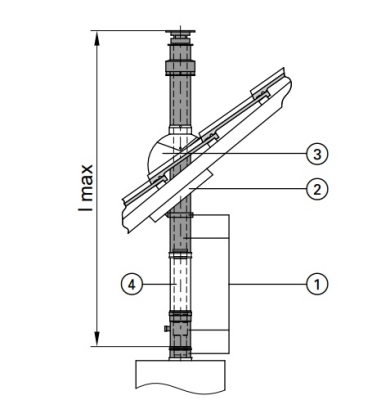
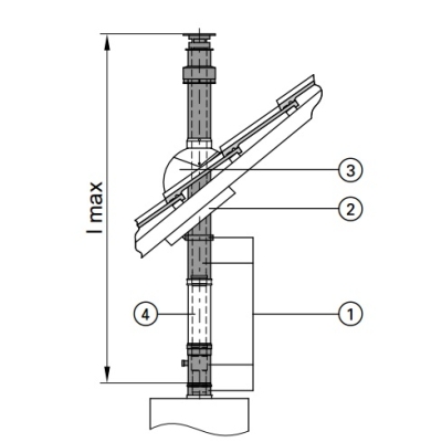
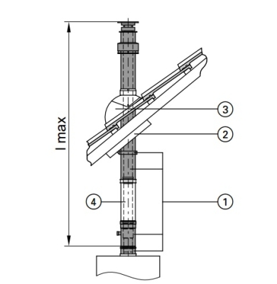
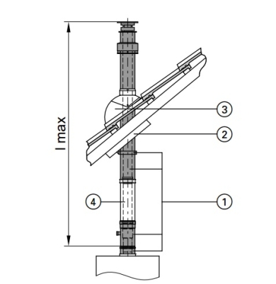
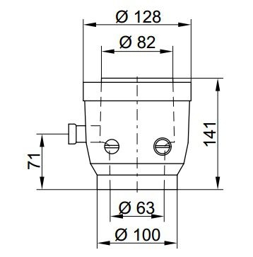
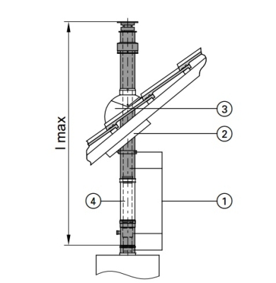
В категории Аксессуары и запчасти к котлам из раздела Котлы вы можете купить понравившийся вам товар Аксессуары и запчасти к котлам, Производитель - Viessmann , с монтажом и доставкой по всей России по низкой цене.
